| Новости → Передача карданная привода вентилятора холодильника тепловоза ЧМЭ3 |
Передача карданная привода вентилятора холодильника тепловоза ЧМЭ3
Передача карданная привода вентилятора холодильника тепловоза ЧМЭ3
К нашему предприятию, как к производителю и поставщику карданных валов к железнодорожной технике и комплектующих к ним, поступают запросы относительно возможности поставки крестовины «Прага», на базе которой разработан существующий карданный вал вертикального привода вентилятора холодильника тепловоза ЧМЭ3.
Изучив техническую и экономическую стороны данного вопроса, мы выявили следующее:
- крестовина «Прага» в сборе с подшипниками имеет нестандартные размеры, следовательно, не является распространенным и унифицированным узлом;
- данная крестовина на сегодняшний день производится на предприятии, которое не специализируется на производстве подшипников и крестовин, по этой причине не может обеспечить соответствующую точность и качество, которые предъявляются к узлам такого рода. К примеру, для качественной работы игольчатого подшипника крестовины, разноразмерность роликов в одном подшипнике не должна превышать 3 микрона. Если же этот параметр не выдерживается, то нагрузка в подшипнике распределяется неравномерно, в основном на ролики большего диаметра и, вследствие этого, происходит процесс бринеллирования. Также на ресурс работы крестовины влияет ряд других параметров, выдержать которые можно только в условиях специализированного производства;
- освоение производства крестовины «Прага» на Херсонском заводе карданных валов, который является нашим партнером, не целесообразно из-за нерентабельности.
Исходя из таких данных, наше предприятие разработало новую конструкцию карданной передачи привода вентилятора холодильника тепловоза ЧМЭ3 взамен существующей. Основной задачей, которая стояла перед конструкторами нашего предприятия, являлась максимальная унификация всех узлов деталей.
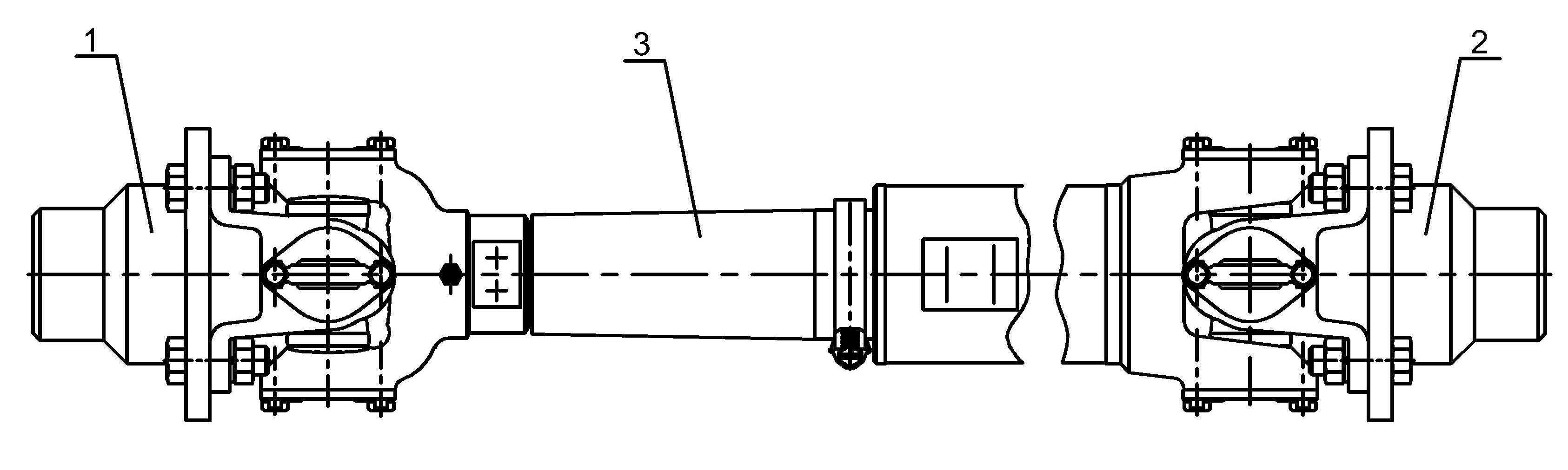
Конструкция состоит из двух фланцев – переходников, которые насаживаются на вал редуктора (позиция 1) и на вал вентилятора холодильника (позиция 2) соответственно (в дальнейшей эксплуатации не изнашиваются и замены не требуют) и из карданного вала (позиция 3).
Карданный вал разработан на базе серийных крестовин 53А-2201025-14 (автомобиль ГАЗ), которые широко применяются, в том числе и в железнодорожной технике.
Данный карданный вал имеет высокую надежность, прост в обслуживании и ремонте. Улучшается качество производимого ремонта (например, для замены крестовины теперь достаточно открутить четыре болта крепления карданного вала к переходнику со стороны крестовины, требующей замены, и снять половину карданного вала, разъединив шлицевое соединение. Далее ремонт проводится в условиях мастерской, при этом, при соблюдении правил разборки – сборки карданного вала балансировка не нарушается). Смазки в подшипниках достаточно на весь ресурс работы крестовины.
Опытные образцы карданного вала привода вентилятора холодильника тепловоза ЧМЭ3 успешно прошли эксплуатационные испытания на Одесской железной дороге. По выводам приемной комиссии Укрзализныци карданный вал принят в серийное производство и рекомендован к использованию в локомотивных депо на тепловозах серии ЧМЭ3.
